ОСК 110 кВ (УХЛ1) изоляторы стержневые опорные

Назначение
Изоляторы серии ОСК предназначены для изоляции и крепления токоведущих частей в электрических аппаратах и распределительных устройствах электрический станций и подстанций и ВЛ на напряжение 10, 35 и 110 кВ с частотой до 100 Гц.

Изоляторы изготавливаются на базе стеклопластикового стержня с запрессованными на его концах фланцами и покрытым изолирующей монолитной внешней оболочкой из кремнийорганической композиции.

Электрическая прочность стеклопластикового стержня вдоль волокон не менее 3,5 кВ/мм.

Изолирующая оболочка изготовляется из кремнийорганической композиции, выполненной способом заливки стержня в литьевой форме. Цельнолитой способ изготовления оболочки обеспечивает стойкость к проникновению воды под защитную оболочку.

Конструкция фланцев изоляторов не имеет углублений, приводящих к скапливанию воды. Сварные швы стальных фланцев обеспечивают герметичность внутреннего объема изолятора.

Фланцы и крепежные элементы имеют антикоррозийное защитное покрытие, соответствующее требованиям ГОСТ Р 51177 и рассчитанное на полный срок эксплуатации изоляторов.

Назначение ОСК 10–110–А УХЛ1 ОСК 10–110–Б УХЛ1 ОСК 10–110–В УХЛ1 ОСК 10–110–Г УХЛ1 ОСК 10–110–Г-IV УХЛ1
Номинальное напряжение, кВ 110
Испытательное напряжение полного грозового импульса, кВ 450 550
Механическая разрушающая сила на изгиб, кН, не менее — нормируемый параметр 10
Длина пути утечки, см, не менее 280 315 390
Диапазон рабочих температур, °С – 60 +50

Тип изолятора Приcоединительные размеры фланцев, мм Габаритный размер фланцев, мм Масса, кг
Верх Низ Верх Низ
А d A1 d1 B B1
ОСК 10-110-А-2 УХЛ1 (серый, красный, желтый, зеленый) ­ø127 М16 ø178 ø18 ø159 ø220 20,5
ОСК 10-110-А1-2 УХЛ1 M12 M12
ОСК 10-110-А2-2 УХЛ1 M16 M16 20,9
ОСК 10-110-А-3 УХЛ1 М16 ø18 23,2
ОСК 10-110-Б-2 УХЛ1 (серый, красный, желтый, зеленый) ø120 М12 ø160 ø18 ø150 ø204 20,7
ОСК 10-110-Б1-2 УХЛ1 ø100 М10
ОСК 10-110-Б2-2 УХЛ1 М12
ОСК 10-110-Б3-2 УХЛ1 ø10 ø12 ø130 20,5
ОСК 10-110-Б4-2 УХЛ1 М10 ø18
ОСК 10-110-Б5-2 УХЛ1 ø12
ОСК 10-110-Б6-2 УХЛ1 М12
ОСК 10-110-Б7-2 УХЛ1 М12 М12
ОСК 10-110-Б8-2 УХЛ1 ø120 ø10 ø18 ø150 20,7
ОСК 10-110-Б9-2 УХЛ1 ø100 ø18 21,2
ОСК 10-110-Б10-2 УХЛ1 М12 М16 ø130
ОСК 10-110-Б11-2 УХЛ1 ø120 ø12 ø18 ø150
ОСК 10-110-Б12-2 УХЛ1 М12 М18
ОСК 10-110-Б13-2 УХЛ1 М12 ø16
ОСК 10-110-В-2 УХЛ1 (серый, красный, желтый, зеленый) ø160 ø18 ø160 ø18 ø204 ø204 22,6
ОСК 10-110-В1-2 УХЛ1 м18 ø18
ОСК 10-110-В2-2 УХЛ1 М18 М18
ОСК 10-110-В3-2 УХЛ1 ø20 ø20
ОСК 10-110-В4-2 УХЛ1 ø140 ø18 ø18
ОСК 10-110-В5-2 УХЛ1 ø120 М12 ø18
ОСК 10-110-В6-2 УХЛ1 М12 М18
ОСК 10-110-В-3 УХЛ1 ø160 ø18 ø160 ø18 ø204 ø204
ОСК 10-110-Г-3 УХЛ1 (серый, красный, желтый, зеленый) ø127 М16 ø200 ø18 ø159 ø240 31,1
ОСК 10-110-Г1-3 УХЛ1 М12 ø178 ø16 ø218 33,1
ОСК 10-110-Г2-3 УХЛ1 М16 ø18
ОСК 10-110-Г3-3 УХЛ1 М16 ø225 ø14 ø265 35,4
ОСК 10-110-Г-IV УХЛ1 ø14 ø200 ø18 ø240 35,0

Габаритные, установочные и присоединительные размеры:

ОСК 10-110-А-2 УХЛ1
Присоединительные размеры изолятора ОСК 10-110-А-2 УХЛ1
ОСК 10-110-А-3 УХЛ1
Присоединительные размеры изолятора ОСК 10-110-А-3 УХЛ1
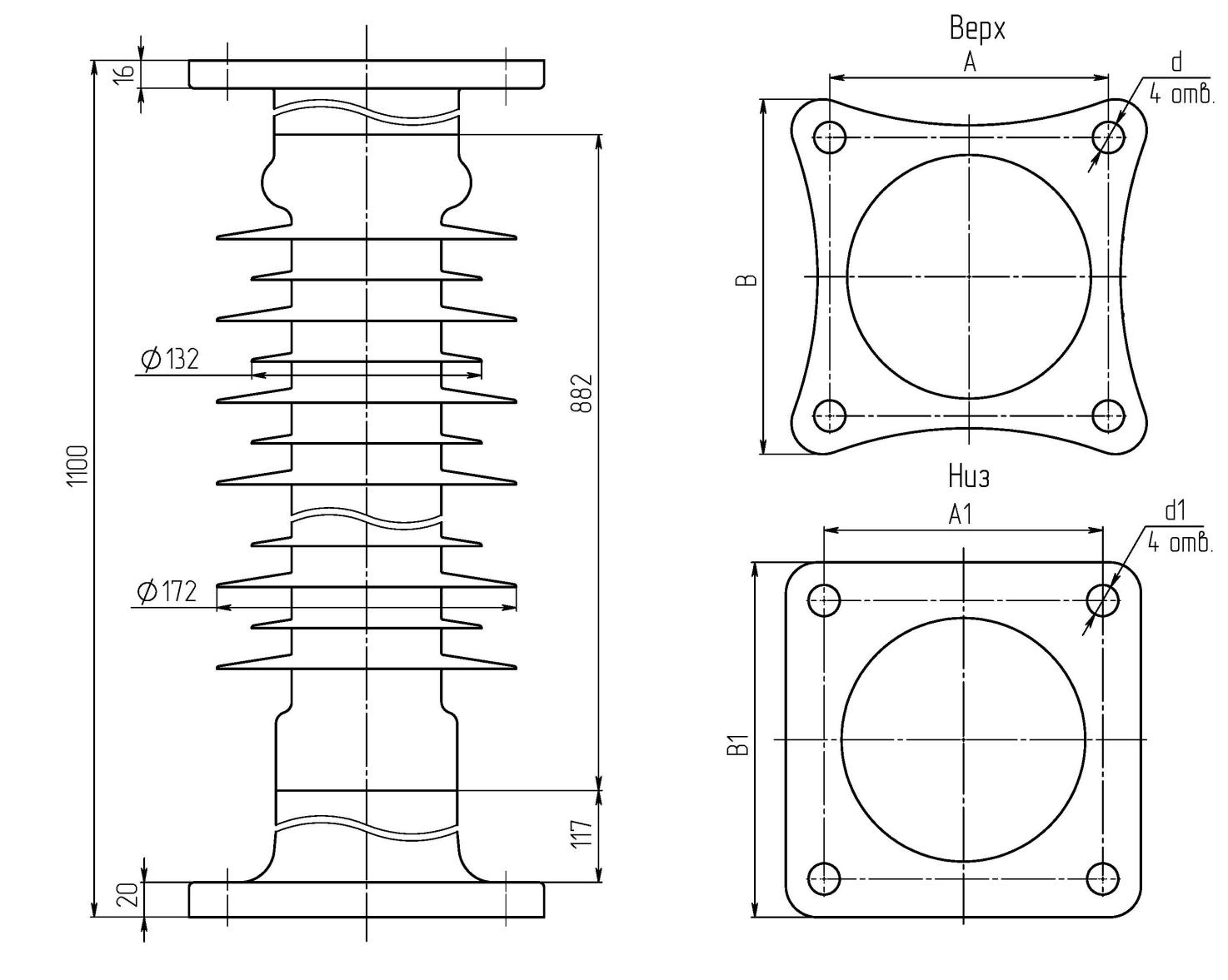
ОСК 10-110-Б-2 УХЛ1
Присоединительные размеры изолятора ОСК 10-110-Б-2 УХЛ1
ОСК 10-110-В2-2 УХЛ1
Присоединительные размеры изолятора ОСК 10-110-В2-2 УХЛ1
ОСК 10-110-В3-3 УХЛ1
Присоединительные размеры изолятора ОСК 10-110-В3-3 УХЛ1
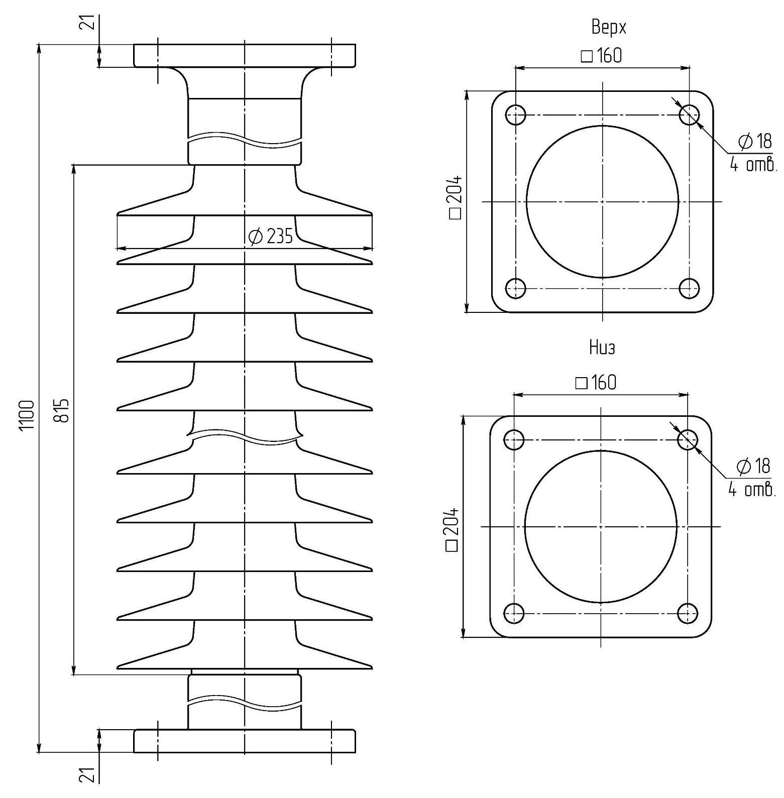
ОСК 10-110-Г3 УХЛ1
Присоединительные размеры изолятора ОСК 10-110-Г3 УХЛ1
ОСК 10-110-ГIV УХЛ1
Присоединительные размеры изолятора ОСК 10-110-ГIV УХЛ1
Отрасли промышленности, в которых применяется продукт: